

No. | Name | Description |
|---|---|---|
1 | Tray left side door | Opens for removal of mishandled paper from the main body right side door or from the paper feeder unit trays. |
2 | Tray left side door knob | Held to open the tray left side door. |
3 | Upper tray (Tray 3) (Tray 6 for 2nd unit, Tray 9 for 3rd unit) | Holds 1,390 sheets (80 g/m2 / 21 lb Bond). |
4 | Middle tray (Tray 4) (Tray 7 for 2nd unit, Tray 10 for 3rd unit) | Holds 1,390 sheets (80 g/m2 / 21 lb Bond). |
5 | Lower Tray (Tray 5) (Tray 8 for 2nd unit, Tray 11 for 3rd unit) | Holds 1,850 sheets (80 g/m2 / 21 lb Bond). |
6 | Air nozzle confirmation window | Open this window to check the paper feeding functionality when adjusting the air blow in the middle tray and lower tray. The upper tray is not available to make a check. |
7 | Tray handle | Held to withdraw the tray. |
8 | LeverPF1 | Opens leftward for removal of paper jam. |
9 | LeverPF2 | Opens leftward for removal of paper jam. |
10 | LeverPF4 | Opens upper-rightward for removal of paper jam. |
11 | Paper size indicator | Indicates an appropriate position of side guide plates for the paper size to be loaded. |
12 | Side guide lock knobs (2 pieces) | Turned to move or fix the side guide plates. |
13 | Edge air nozzle | Blows air to separate the print paper. |
14 | Small size guides (2 pieces) | Open inward for print paper of the width less than 139.7 mm / 4.5". |
15 | Paper holding plate fixing lever (2 pieces) | Leave the lever in the right-side fixed position; moving (sliding) the lever may decrease the paper feeding functionality. |
16 | Side air nozzle | Blows air to slightly float the paper to prevent double feed. |
17 | Rear edge guide lock release lever | Pushed left to release the lock in order to move the rear guide plate. |
18 | Side guide lock release lever | Pushed backward to release the lock in order to move side guide plates. |
19 | Upper limit sensor position adjustment lever | Leave the lever in the lower-side fixed position; raising the lever may reduce the paper feeding functionality. |
20 | Bottom plate fixing knob | Slid to the front and turned clockwise to keep the bottom plate elevated to the top position. |
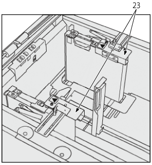
21 | Side guide plates (2 pieces) | Aligned to the edges of loaded paper. |
22 | Rear guide plate | Aligned to the rear edge of loaded paper. |
23 | Side auxiliary guides (2 pieces) | Mount these guides on the side guide plates when loading tab paper. |