


No. | Name | Description |
|---|---|---|
1 | Dual Scan Document Feeder DF-706 (ADF) (Option) | Feeds multiple originals on a sheet basis to scan data. |
2 | Sub power switch | Turns machine power on/off when pressed. |
3 | Service port (USB 2.0 Type A 3) | Used to connect devices such as an external storage medium (USB flash drive), keyboard, and mouse. This port is available for low-power devices only. Please provide an external supply of power for devices that require a large amount of power. |
4 | Touch Panel | Displays screens such as the MACHINE screen to allow various settings and machine operations. Also, operation or troubleshooting procedures can be provided. |
5 | Control Panel | Used for various settings and machine operations. |
6 | Toner supply door | Opens to replace the toner bottle. |
7 | Toner supply door handle | Pulled to the right to open the toner supply door. |
8 | Tray 1 | Holds 500 sheets (80 g/m2 / 21 lb Bond). |
9 | Tray 2 | Holds 1000 sheets (80 g/m2 / 21 lb Bond). |
10 | Main body front door handle | Pulled to the left to open the main body front door. |
11 | Front door | Opens to allow removal of paper jam or to turn on/off the main power switch. |
12 | Original Cover OC-511 (Original cover) (Option) | Opens to place an original on the Original Glass, then closes to hold it in position. |
13 | Working Table WT-511 (optional) | Provides a convenient workspace for documents before and after copying. |
14 | Multi Bypass Tray MB-506 (optional) | Opens to use copy paper other than that which is loaded in the machine trays. Up to 250 sheets (80 g/m2 / 21 lb Bond) can be loaded. |
15 | Right side door | Opens rightward for removal of paper jam. |
16 | Waste toner box replacement door | Opens to allow replacement of the waste toner box. |
17 | Output Tray OT-511 (optional) | Holds sets output in non-offset or offset mode. |
18 | Power cord | Supplies the main body with electric power. |
19 | Intelligent Quality Optimizer connection port | Used to connect Intelligent Quality Optimizer IQ-501 by cable. (Only with Video Interface Kit VI-511 mounted) |
20 | Video Interface Kit connection port | Used to mount Video Interface Kit VI-509 (optional). * Video Interface Kit VI-509 (optional) is required to connect Image Controller IC-313, Image Controller IC-314, or Image Controller IC-417 to this machine by cable. |
21 | Service port (USB 3.0/2.0 Type A 1) | Used to connect devices such as an external storage medium (USB flash drive, USB-HDD), keyboard and mouse. This port is available for low-power devices only. Please provide an external supply of power for devices that require a large amount of power. |
22 | Service port (USB 2.0 Type B 1) | Connect this machine to the computer using a USB cable in order to use it as a local printer. |
23 | Network port (10Base-T, 100Base-TX, 1000Base-T) | Connected with an Ethernet cable to operate the machine, or to use the machine as a network printer/scanner. |
24 | Dust proof filter | Attached for cooling fan in order to keep out dust. |
25 | Lock release lever | Pressed to the back to open downward for removal of paper jam. The lock release lever can be reached from the optional device in the left side. |
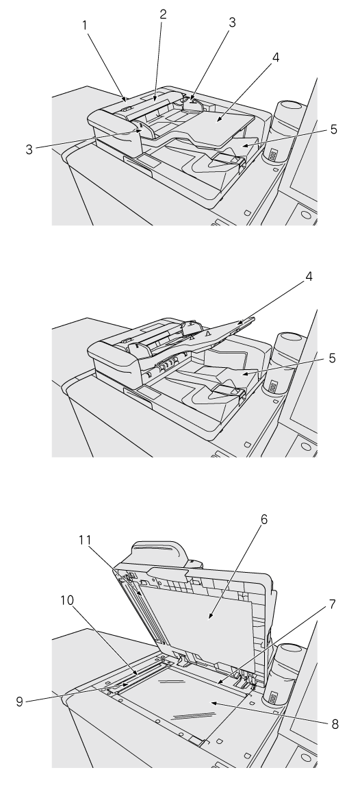
Dual Scan Document Feeder DF-706 (ADF)

No. | Name | Description |
|---|---|---|
1 | Left original conveyance cover | Opens leftward to allow removal of jammed original. |
2 | ADF original scale | Indicates available original sizes, face to be placed, and unsuitable originals. |
3 | Original guides | Aligned to the edges of loaded originals. |
4 | Original Tray | Loads the original to be scanned on the machine. Up to 300 sheets can be set. Opens upward to allow removal of jammed original. |
5 | Original Output Tray | Outputs the scanned original. |
6 | ADF guide cover | Automatically positions the original on the original glass. Or, closed to cover the original positioned manually on the original glass. |
7 | Horizontal size guide | Measures the original size in horizontal direction. |
8 | Original glass | Scans original images into memory. |
9 | Slit scan glass | Scans original images into memory when using ADF. |
10 | Vertical size guide | Measures the original size in vertical direction. |
11 | Slit scan glass for back side | Scans original images in the back side on this part when using ADF. |
Original Cover OC-511 (Original cover)

No. | Name | Description |
|---|---|---|
1 | Original folder | Temporarily stores the original. |
2 | Upper cover handle | Hold this handle to open or close the original cover. |
3 | Original cover | Open this cover to load the original into the Original Glass, and close it to make a copy. |