You can adjust the depth direction of punch hole positions to fix misalignment of punch hole position with the center of punched output.
As an example, this section explains how to adjust the punch hole position by using the Finisher FS-532 mounted Punch Kit PK-522 when it is misaligned upward (backward) by 1.5 mm from the center of the papers.
Meaning and Purpose of Punch Vertical Position Adjustment
When the punch hole position is misaligned from the center of paper, this function allows you to move the punch hole position forward or backward by specifying the desired value.
- value: Moves the punch hole position forward (downward).
+ value: Moves the punch hole position backward (upward).
When to perform
When the center of punch hole position and the center of paper are misaligned
Intended Environment
Image Controller | Image Controller IC-605 |
Mounted finisher | Finisher FS-532 mounted Punch Kit PK-522 |
* The sample screen may be different from the actual display depending on your system environment.
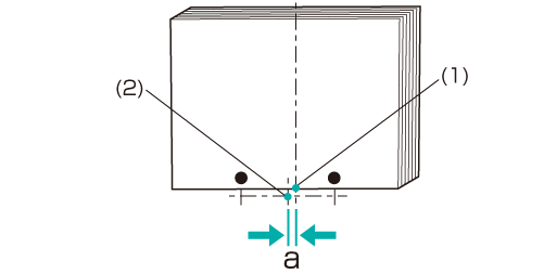
Measure the current misalignment 'a' of the punch hole position using a ruler.
supplementary explanationMeasure the difference between paper center position (1) and punch hole center position (2) (= Width 'a').
On the touch panel of the main body, press Adjustment on the MACHINE screen.
Press Finisher Adjustment on the Adjustment Menu screen.
Press Staple Finisher Adjustment on the Finisher Adjustment menu.
Press Staple Finisher(Punch) Adj. on the Staple Finisher Adjustment menu.
Press Vertical Position Adj. (CD) on the Staple Finisher(Punch) Adj.. 
Press the paper size to adjust. Enter the adjustment value and press Set.
Example: Make the punch hole position for Offset for All Size (all paper sizes)
downward (forward) by 1.5 mm.
Item | Setting |
|---|---|
Offset for All Size | Moving 1.5 mm downward (forward) (-15)
|

supplementary explanationPress the keypad on the screen to set the value.
supplementary explanationUse +/- to specify the value to be positive or negative.
supplementary explanationThe values are in 0.1 mm increments. (1 = 0.1 mm)
supplementary explanationPressing Print Mode switches the mode to print mode, which allows you to print the original.
Print the original again and check the punch hole center position for misalignment.
Repeat the above steps until the desired punch center position is obtained.