Adjust the fold position for [Double Parallel]. Make this adjustment when the fold position deviates from the standard value.
Category | Adjustment / Maintenance | ||
Location | Machine | Touch Panel | |
Printer driver | - | ||
Application | - | ||
Required options | FoldingUnit FD-503 | ||
Required items | - | ||
Setting items | [Fold 1] | Changes the 1st fold position. | |
[Fold 2] | Changes the 2nd fold position. | ||
[Offset for All Size] | Adjusts the fold position common to all the paper sizes. | ||
Paper size selection key | Selects the paper size to adjust. | ||
[+] / [,] | Switches the paper size page. | ||
Keypad | Used to enter numeric values. | ||
[Clear] | Returns the entered numeric value to "0". | ||
[Set] | Sets the numeric value entered using the keypad to the selected setting item. | ||
Remarks | - | ||
Reference | - | ||
Screen access | Touch panel - [MACHINE] - [Adjustment] - [Finisher Adjustment] - [Multi Folder Adjustment] - [Multi Folder(Fold) Adj.] - [Double Parallel Pos. Adj.] | ||
Control panel - Utility/Counter - [Administrator Setting] - [System Setting] - [Expert Adjustment] - [Finisher Adjustment] - [Multi Folder Adjustment] - [Multi Folder(Fold) Adj.] - [Double Parallel Pos. Adj.] | |||
[Separate Scan] is automatically set to [Double Parallel].
A sample is output.

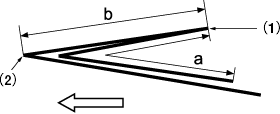
Standard value: a, b = -1.5 mm to +1.5 mm or less
Paper size | Standard value a | Standard value b |
|---|---|---|
[A3w] | 208.5 mm | 103.8 mm |
[B4w] | 180.5 mm | 89.8 mm |
[SRA4w] | 158.5 mm | 78.7 mm |
[A4w] | 147.0 mm | 73.0 mm |
[12e18w] | 227.1 mm | 113.1 mm |
[11e17w] | 214.4 mm | 106.7 mm |
[8.5e14w] | 176.3 mm | 87.7 mm |
[8.5e11w] | 138.2 mm | 68.6 mm |
[8Kw] | 193.5 mm | 96.3 mm |
(1) [Fold 1], (2) [Fold 2]


Use [+ / -] to select the plus or minus of the numeric value. To change [Current Data], press [Set].
[Adj. Range:-50~+50 1step = 0.1mm]


Use [+ / -] to select the plus or minus of the numeric value. To change [Current Data], press [Set].
[Adj. Range:-50~+50 1step = 0.1mm]
