No. | Name | Description |
|---|---|---|
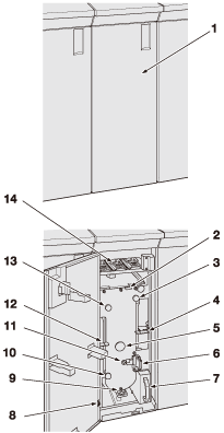
1 | Multi punch front door | Opens to allow replacement of a die set, or removal of punch waste or mishandled paper. |
2 | Lever[GP1] | Opens upward for removal of mishandled paper. |
3 | Knob[GP1] | Turned to allow removal of mishandled paper. |
4 | Lever[GP2] | Opens upper-rightward for removal of mishandled paper. |
5 | Knob[GP4] | Turned clockwise for replacement of a die set or removal of mishandled paper. |
6 | Die set | Punches various types of file holes. |
7 | Punch scrap box | Withdrawn for removal of waste paper punched out. |
8 | Power switch | Turns on/off the power of the multi punch. |
9 | Lever[GP5] | Opens downward for removal of mishandled paper. |
10 | Knob[GP7] | Turned to allow removal of mishandled paper. |
11 | Die set blade position indicator | Used to check the position of the die set blade moved by turning Knob[GP4] for replacement of the die set or removal of mishandled paper. |
12 | Lever[GP6] | Opens upper-leftward for removal of mishandled paper. |
13 | Knob[GP8] | Turned to allow removal of mishandled paper. |
14 | Die set rack | Stored with die sets. |