Adjust the folded positions in Double Parallel mode determined by Folding Unit FD-503.
Objects of Adjustment: Offset for All Size, A3
, B4
, SRA4
, A4
, 12
18
, 11
17
, 8.5
14
, 8.5
11
, 8K
, Custom (380 - 458 mm), Custom (279 - 379 mm)

When adjusting both Fold 1 and Fold 2, be sure to start with the Fold 1 adjustment.

If a numeric value is specified for [Offset for All Size], it is applied to all paper sizes. With a specific paper size selected,the set value becomes the sum of the entered value and the value previously specified for [Offset for All Size].
Press [Adjustment] on the [MACHINE] screen to display the [Adjustment Menu] screen.
Press [Finisher Adjustment], [Multi Folder Adjustment], [Multi Folder (Fold) Adj.], and [Double Parallel Pos. Adj.] in sequence.
Select the size to be adjusted using [
] or [
].
Press [Print Mode].
Load the paper with the size to be adjusted, then select that tray.
Press Start on the control panel.
A sample pattern will be output.
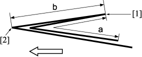
Measure the lengths (a) and (b) of the printed paper.
Allowance: a ± 1.5 mm, b ± 1.5 mm
Paper size | a | b |
|---|---|---|
A3 | 208.5 mm | 103.8 mm |
B4 | 180.5 mm | 89.8 mm |
SRA4 | 158.5 mm | 78.7 mm |
A4 | 147.0 mm | 73.0 mm |
12 | 227.1 mm | 113.1 mm |
11 | 214.4 mm | 106.7 mm |
8.5 | 176.3 mm | 87.7 mm |
8.5 | 138.2 mm | 68.6 mm |
8K | 193.5 mm | 96.3 mm |
[1] Fold 1 [2] Fold 2
If any adjustment is required, press [Exit PrintMode] to return to the [Double Parallel Pos. Adj.] screen.
Select [Fold 1], and then use the touch panel keypad to enter the set value.
Use [+/-] to specify the value to be positive or negative.
Press [Set] to change the Current Value.
Adjustment Range: -50 ([To narrow]) to +50 ([To widen]) (1 step = 0.1 mm)

Select [Fold 2], and then use the touch panel keypad to enter the set value.
Use [+/-] to specify the value to be positive or negative.
Press [Set] to change the Current Value.
Adjustment Range: -50 ([To narrow]) to +50 ([To widen]) (1 step = 0.1 mm)

Repeat steps 4 to 10 until the desired result is obtained.
Press [Return].
The screen returns to the [Multi Folder (Fold) Adjustment Menu] screen.