Adjust the folded positions in Z-Fold mode determined by Folding Unit FD-503.
Objects of Adjustment: Offset for All Size, A3
, B4
, SRA4
, A4
, 12
18
, 11
17
, 8.5
14
, 8.5
11
, 8K
, Custom (380 - 458 mm), Custom (279 - 379 mm)

When adjusting all of Fold 1, Fold 2, and Fold 3, be sure to start with the Fold 1 adjustment in order.

If a numeric value is specified for [Offset for All Size], it is applied to all paper sizes. With a specific paper size selected,the set value becomes the sum of the entered value and the value previously specified for [Offset for All Size].
Press [Adjustment] on the [MACHINE] screen to display the [Adjustment Menu] screen.
Press [Finisher Adjustment], [Multi Folder Adjustment], [Multi Folder (Fold) Adj.], and [Gate Position Adj.] in sequence.
Select the size to be adjusted using [
] or [
]. 
Press [Print Mode].
Load the paper with the size to be adjusted, then select that tray.
Press Start on the control panel.
A sample pattern will be output.
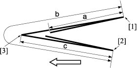
Measure the lengths (a), (b), and (c) of the printed paper.
Allowance: a ± 1.5 mm, b ± 1.5 mm, c ± 1.5 mm
Document size | a | b | c |
|---|---|---|---|
A3 | 103.5 mm | 213.0 mm | 106.5 mm |
B4 | 86.7 mm | 179.5 mm | 89.7 mm |
SRA4 | 78.5 mm | 163.0 mm | 81.5 mm |
A4 | 72.8 mm | 151.5 mm | 75.8 mm |
12 | 112.8 mm | 231.6 mm | 115.8 mm |
11 | 106.5 mm | 218.9 mm | 109.5 mm |
8.5 | 87.4mm | 180.8 mm | 90.4 mm |
8.5 | 68.4 mm | 142.7 mm | 71.4 mm |
8K | 96.0 mm | 198.0 mm | 99.0 mm |
[1] Fold 1 [2] Fold 2 [3] Fold
If any adjustment is required, press [Exit PrintMode] to return to the [Gate Position Adjustment] screen.
Select [Fold 1], and then use the touch panel keypad to enter the set value.
Use [+/-] to specify the value to be positive or negative.
Press [Set] to change the current value.
Adjustment Range ([Fold 1]): -50 ([To narrow]) to +50 ([To widen]) (1 step = 0.1 mm)
Select [Fold 2], and then use the touch panel keypad to enter the set value.
Use [+/-] to specify the value to be positive or negative.
Press [Set] to change the current value.
Adjustment Range ([Fold 2]): -50 ([To widen]) to +50 ([To narrow]) (1 step = 0.1 mm)
Select [Fold 3], and then use the touch panel keypad to enter the set value.
Use [+/-] to specify the value to be positive or negative.
Press [Set] to change the current value.
Adjustment Range ([Fold 3]): -50 ([To narrow]) to +50 ([To widen]) (1 step = 0.1 mm)
Repeat steps 4 to 11 until the desired result is obtained.
Press [Return].
The screen returns to the [Multi Folder (Fold) Adjustment Menu] screen.